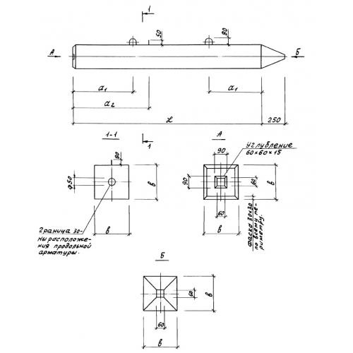
СЦ 5-25

Чертеж изделия:
Характеристики изделия:
ПараметрЗначение
длина5000 мм
ширина250 мм
высота250 мм
масса800 кг
нормативный документГОСТ 19804.4-78

СЦ 5-25 Сваи квадратного сечения ГОСТ 19804.4-78.