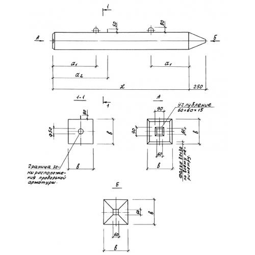
СЦпр 11-30

Чертеж изделия:
Характеристики изделия:
ПараметрЗначение
длина11000 мм
ширина300 мм
высота300 мм
масса2453 кг
нормативный документСерия 1.011-6

СЦпр 11-30  Свая квадратного сечения без поперечного армирования ствола (центральное армирование высокопрочной проволокой) (Серия 1.011-6).