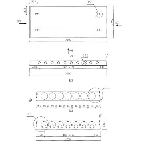
ПК 36.15

Чертеж изделия:
Характеристики изделия:
ПараметрЗначение
длина3580 мм
ширина1490 мм
высота220 мм
масса1600 кг
нормативный документСерия 1.041.1-5

ПК 36.15  Многопустотные плиты перекрытий межвидового назначения (Серия 1.041.1-5).

Плиты длиной 3580 мм и шириной 1490 мм с арматурой из стали классов  A-III  и Bp-I из тяжелого бетона.