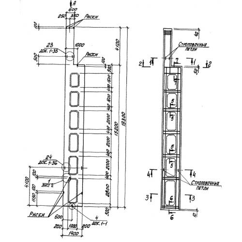
КД 180

Чертеж изделия:
Характеристики изделия:
ПараметрЗначение
длина19300 мм
ширина500 мм
высота1400 мм
вес15300 кг
серия1.424.1-9

КД 180 Колонны двухветвевые для каркасов зданий, оборудованных электрическими опорными подвесными кранами, или без них по серии  1.424.1-9.