ПС 55.18.25

Чертеж изделия:
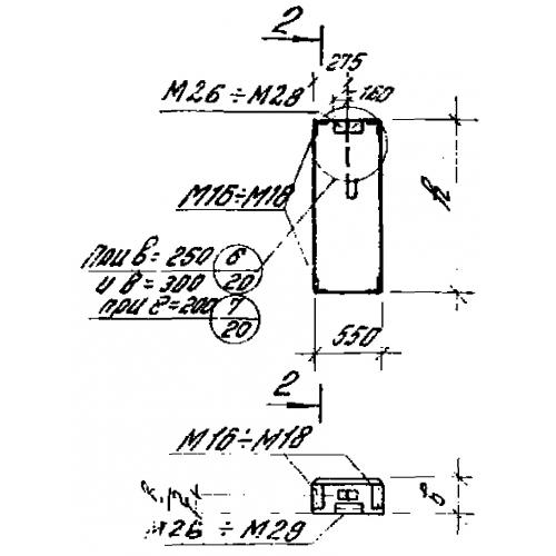
Характеристики изделия:
ПараметрЗначение
длина550 мм
ширина250 мм
высота1780 мм
вес300 кг
серия1.432-14/80

ПС 55.18.25 Панели стеновые по серии 1.432-14/80.