Л 27д лотки

Чертеж изделия:
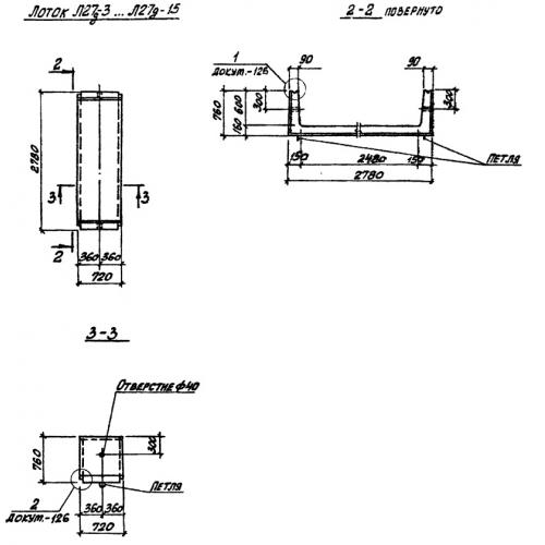
Характеристики изделия:
ПараметрЗначение
длина720 мм
ширина2780 мм
высота760 мм
масса1100 кг
нормативный документСерия 3.006.1-2/87

Л 27д Лотки теплотрасс доборные Серия 3.006.1-2/87.