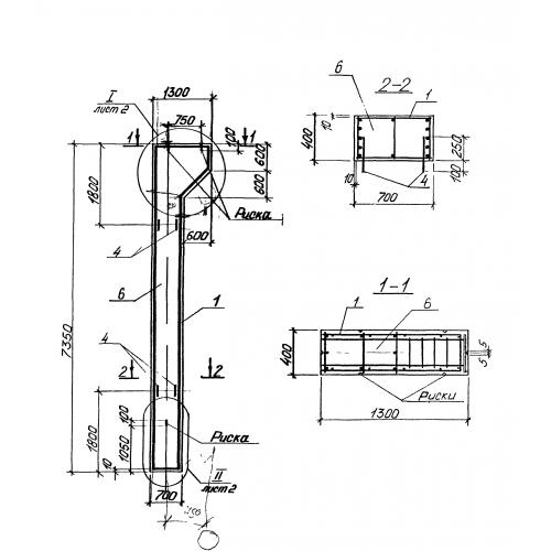
1К 7 колонна крайняя

Чертеж изделия:
Характеристики изделия:
ПараметрЗначение
длина7350 мм
ширина400 мм
высота1300 мм
масса5700 кг
нормативный документСерия 3.013.9-1

1К 7  Колонны  Серия 3.013.9-1.