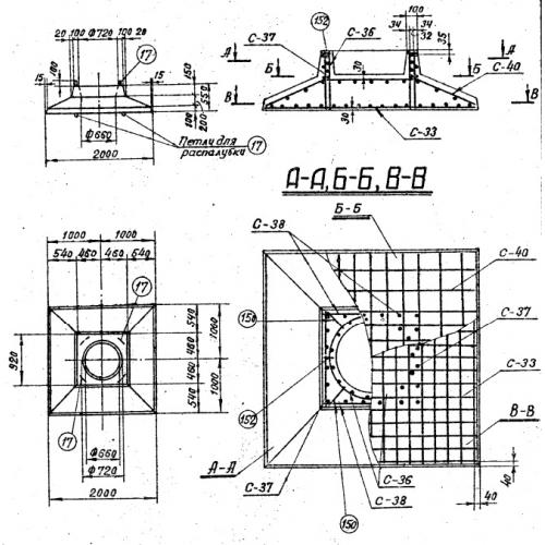
ОП-2 опорная плита

Чертеж изделия:
Характеристики изделия:
ПараметрЗначение
длина2000 мм
ширина2000 мм
высота550 мм
масса2400 кг
нормативный документСерия 3.407.9-158

ОП-2  Опорные плиты по Серии 3.407.9-158.