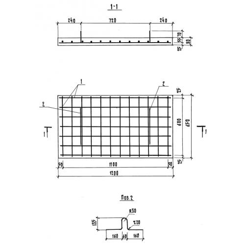
ОП 3 опорная плита

Чертеж изделия:
Характеристики изделия:
ПараметрЗначение
длина1200 мм
ширина650 мм
высота80 мм
вес158 кг
серия3.501.1-160

ОП 3 Опорные плиты по серии 3.501.1-160.