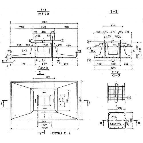
Ф 21-12 фундамент

Чертеж изделия:
Характеристики изделия:
ПараметрЗначение
длина2100 мм
ширина1200 мм
высота500 мм
масса1150 кг
нормативный документСерия 3.820-13

Ф 21-12  Фундаментф по Серии 3.820-13.