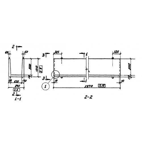
ЛП 6-60

Чертеж изделия:
Характеристики изделия:
ПараметрЗначение
длина5970 мм
ширина840 мм
высота1010 мм
вес3800 кг
серия3.900-2

ЛП 6-60 Элементы прямоугольных лотков  по серии 3.900-2.