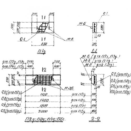
П 4 д плиты перекрытия

Чертеж изделия:
Характеристики изделия:
ПараметрЗначение
длина1800 мм
ширина590 мм
высота120 мм
масса325 кг
нормативный документСерия ИС 01-04

П 4 д  Плиты перекрытия доборные по Серии ИС 01-04.